Skip to main content

Parts Diagrams

customer service agent speaking with a customer

Welcome, Kawasaki owners. Access the information and tools you need to get the most out of your vehicle.

Welcome, Kawasaki owners. Access the information and tools you need to get the most out of your vehicle.

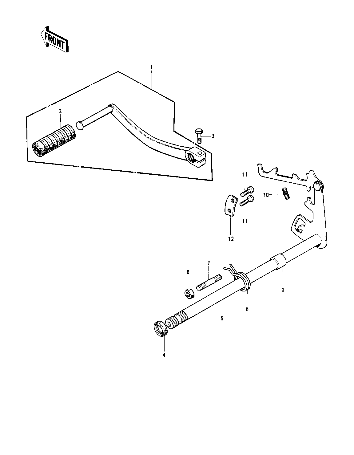
Part Item Information
ITEM NAME REF # PART NUMBER QUANTITY DESTINATION REMARKS
LEVER-ASSY-CHANGE,PED 1 13242-1272
RUBBER CHANGE PEDAL 2 13157-004
BOLT-UPSET,6X20 3 112G0620
SEAL-OIL 4 92049-1271
LEVER ASY,GEAR SHIFT 5 13161-040
NUT 8MM 6 312B0800
BOLT,RETURN SPRING 7 92001-1401
SPRING,CHG PEDL RTN 8 92083-021 KD125
SPRING,TENTION 8 92081-1129 KD125-A2/A3/A4/A5
SPRING,TENTION 8 92081-1129 KD125-A2/A3/A4/A5
COLLAR,GEAR CHNG LEV 9 92027-205
SPRING,KICK PAWL 10 92081-124
SCREW PAN HEAD 6X14 11 220B0614
PLATE,CHNG DRUM PSTN 12 13169-013 KD125
PLATE CHNG DRUM PSTN 12 13169-002 KD125-A2/A3/A4/A5