Skip to main content

Parts Diagrams

customer service agent speaking with a customer

Welcome, Kawasaki owners. Access the information and tools you need to get the most out of your vehicle.

Welcome, Kawasaki owners. Access the information and tools you need to get the most out of your vehicle.

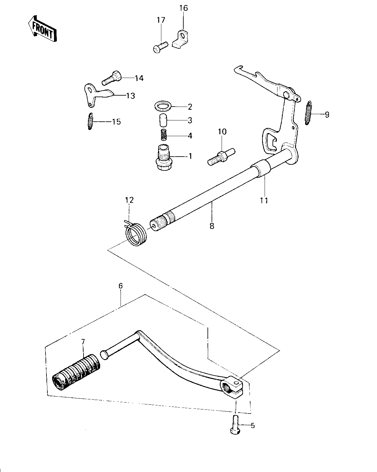
1976 KM100-A1 - GEAR CHANGE MECHANISM (KM100-A6/A7)

Part Item Information
ITEM NAME REF # PART NUMBER QUANTITY DESTINATION REMARKS
BOLT,NEUTRAL POSITION 1 92001-182 1
WASHER,PLAIN 2 92022-324 1
PIN,NEUTRAL POSITIONG 3 92043-131 1
BALL,STEEL,13/32" 3-1 600A1300 1
SPRING 4 92081-112 1
BOLT-UPSET,6X20 5 112G0620 1
PEDAL SET GEAR CHANGE 6 13242-004 1
RUBBER CHANGE PEDAL 7 13157-004 1
LEVER-COMP CHANGE 8 13161-5001 1
LEVER-COMP CHANGE 8 13161-5001 1
SPRING,CHANGE LEVER 9 92144-1720 1
BOLT,RETURN SPRING 10 92001-1401 1
BOLT,RETURN SPRING 10 92001-1401 1
COLLAR 11 92027-121 1
SPRING,TENTION 12 92081-1129 1
LEVER,GEAR CHANGE DRM 13 13168-1046 1
BOLT,CHANGE DRUM LEVE 14 92150-1450 1
SPRING,CHNG DRUM LEV 15 92083-012 1
PLATE,GEAR CHANGE DRM 16 13169-1201 1
PLATE,GEAR CHANGE 16 13169-1253 1 E/NO. 027926~
SCREW PAN HEAD 6X12 17 220B0612 1