Skip to main content

Parts Diagrams

customer service agent speaking with a customer

Welcome, Kawasaki owners. Access the information and tools you need to get the most out of your vehicle.

Welcome, Kawasaki owners. Access the information and tools you need to get the most out of your vehicle.

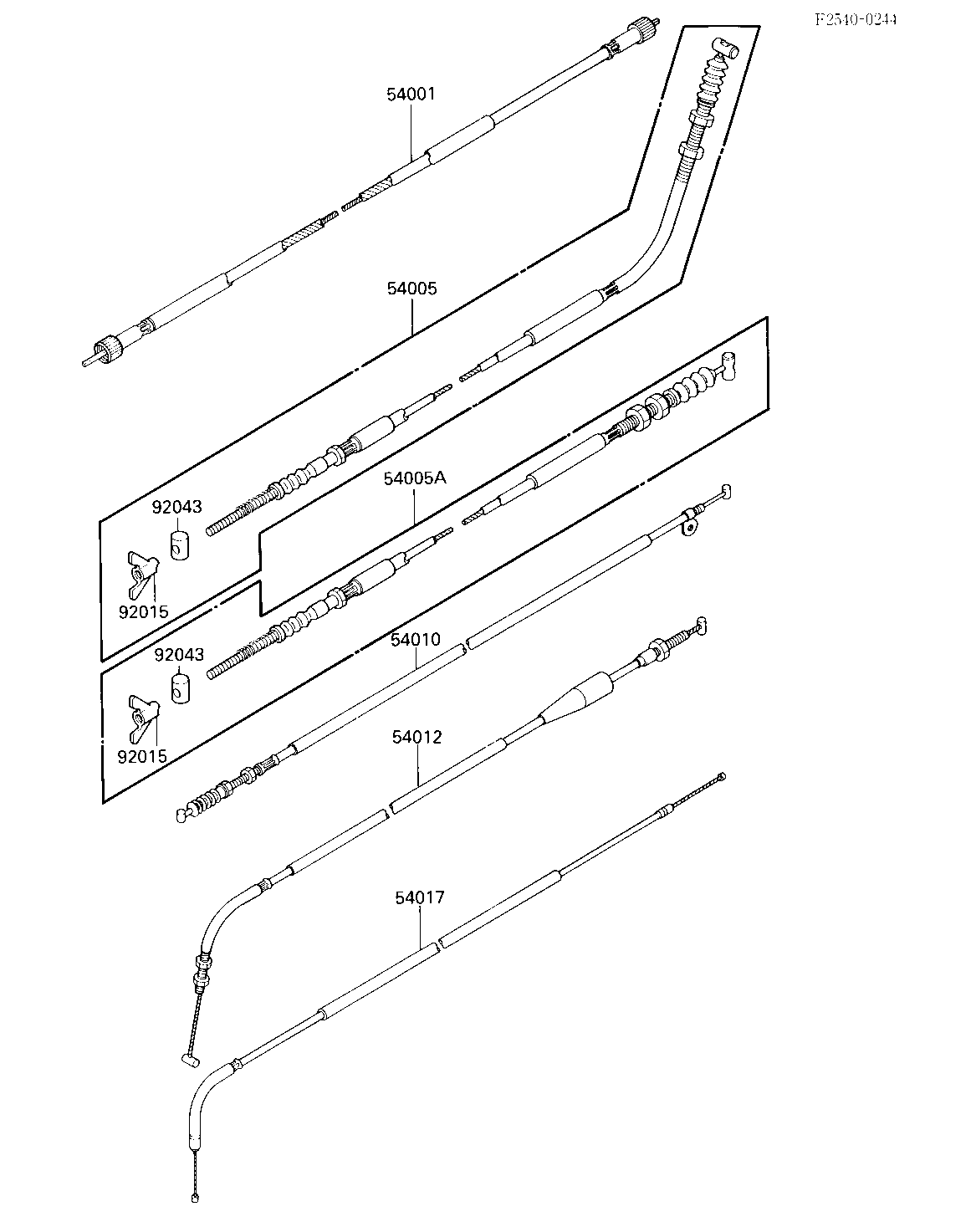
Part Item Information
ITEM NAME REF # PART NUMBER QUANTITY DESTINATION REMARKS
CABLE-SPEEDOMETER 54001 54001-1115 1 (OPTION)
CABLE-BRAKE,RR,LH 54005 54005-1126 1
CABLE-BRAKE,RR,RH 54005A 54005-1127 1
CABLE,REVERSE 54010 54010-1052 1
CABLE-THROTTLE 54012 54012-1259 1
CABLE-STARTER 54017 54017-1086 1
NUT,WING,6M/M 92015 92015-4004 2
PIN,12X20 92043 92043-1280 2