Skip to main content

Parts Diagrams

customer service agent speaking with a customer

Welcome, Kawasaki owners. Access the information and tools you need to get the most out of your vehicle.

Welcome, Kawasaki owners. Access the information and tools you need to get the most out of your vehicle.

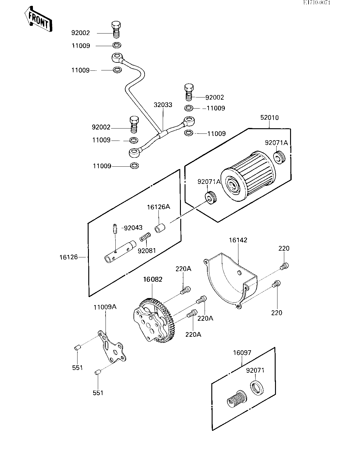
Part Item Information
ITEM NAME REF # PART NUMBER QUANTITY DESTINATION REMARKS
GASKET,10X14.5X1.5 11009 11009-1105 6
GASKET,OIL PUMP 11009A 11009-1520 1
PUMP ASSY OIL 16082 16082-1068 1
STRAINER ASSY,OIL 16097 16097-1001 1
BOLT ASSY,OIL FILTER 16126 16156-002 1
PISTON 16126A 92136-002 1
COVER-PUMP 16142 16142-1064 1
PIPE,OIL 32033 32033-1744 1
FILTER,OIL 52010 16099-004 1
BOLT,OIL,L=23 92002 92002-1888 3
SPRING PIN 92043 92043-123 1
GROMMET,OIL STRAINER 92071 92071-100 1
GROMMET,OIL FILTER 92071A 92071-101 2
SPRING,PISTON 92081 92081-043 1
SCREW PAN HEAD 6X12 220 220B0612 3
SCREW PAN HEAD 6X25 220A 220B0625 3
PIN,DOWEL,6X8 551 551A0608 2