Skip to main content

Parts Diagrams

customer service agent speaking with a customer

Welcome, Kawasaki owners. Access the information and tools you need to get the most out of your vehicle.

Welcome, Kawasaki owners. Access the information and tools you need to get the most out of your vehicle.

Part Item Information
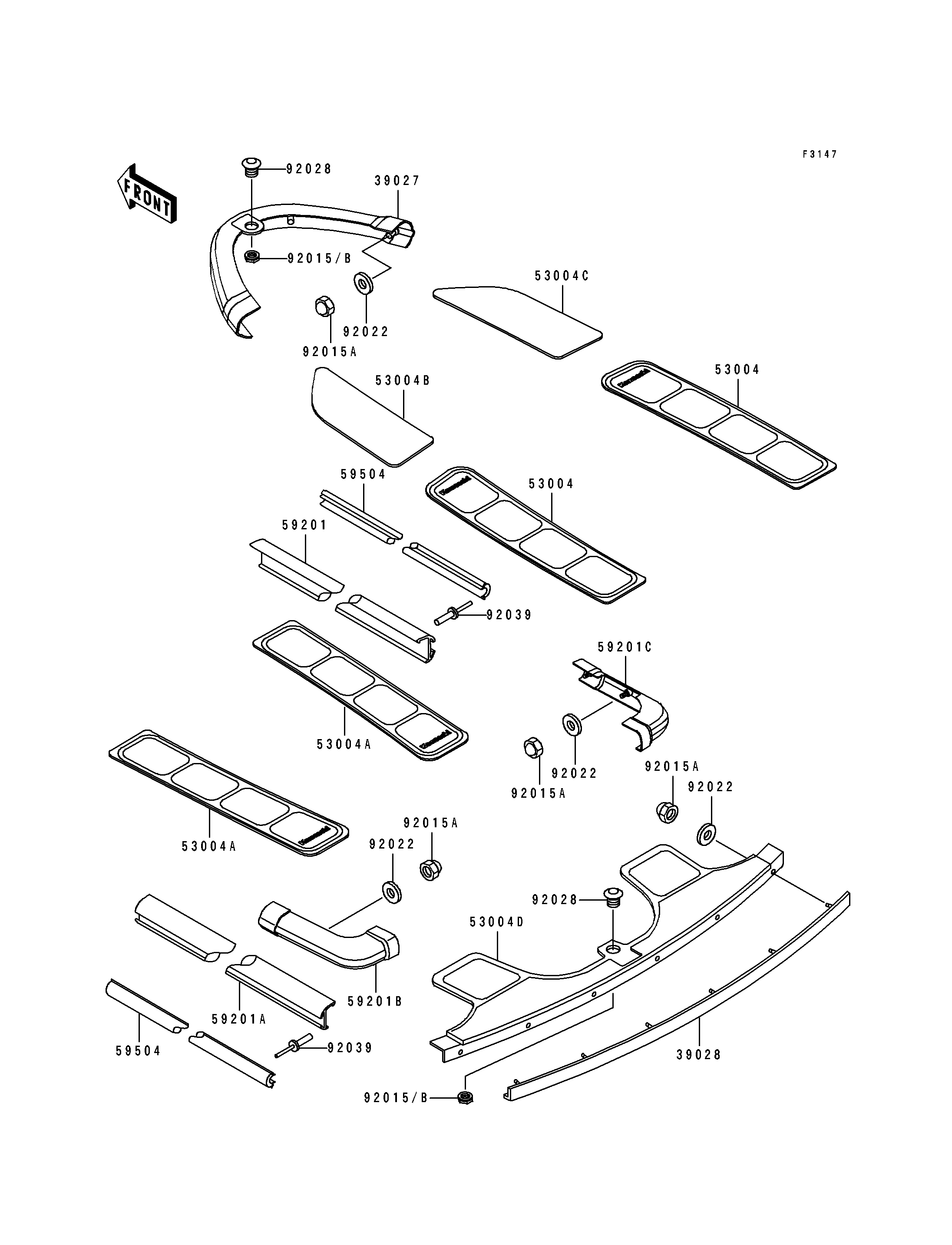
ITEM NAME REF # PART NUMBER QUANTITY DESTINATION REMARKS
BUMPER-FRONT,VIOLET 39027 39027-3725-RE 1
BUMPER-REAR,VIOLET 39028 39028-3725-RE 1
MAT,FLOOR,FR,VIOLET 53004 53004-3741-RE 2
MAT,FLOOR,RR,VIOLET 53004A 53004-3742-RE 2
MAT,FOOT BOARD,LH,VIOLET 53004B 53004-3743-RE 1
MAT,FOOT BOARD,RH,VIOLET 53004C 53004-3744-RE 1
MAT,REAR BUMPER,VIOLET 53004D 53004-3745-RE 1
BUMPER,SIDE,RH,VIOLET 59201 59201-3734-RE 1
BUMPER,SIDE,LH,VIOLET 59201A 59201-3741-RE 1
BUMPER,CORNER,LH,VIOLET 59201B 59201-3747-RE 1
BUMPER,CORNER,RH,VIOLET 59201C 59201-3748-RE 1
INSERT-BOAT FENDER,VIOLET 59504 59504-3708-RE 2
NUT,CAP,5MM 92015A 92015-3802 16
NUT,26MM 92015B 92015-3840 2
WASHER,5X16X1.5 92022 92022-3041 18
BUSHING 92028 92028-3734 2
RIVET 92039 92039-3747 20