Skip to main content

Parts Diagrams

customer service agent speaking with a customer

Welcome, Kawasaki owners. Access the information and tools you need to get the most out of your vehicle.

Welcome, Kawasaki owners. Access the information and tools you need to get the most out of your vehicle.

Part Item Information
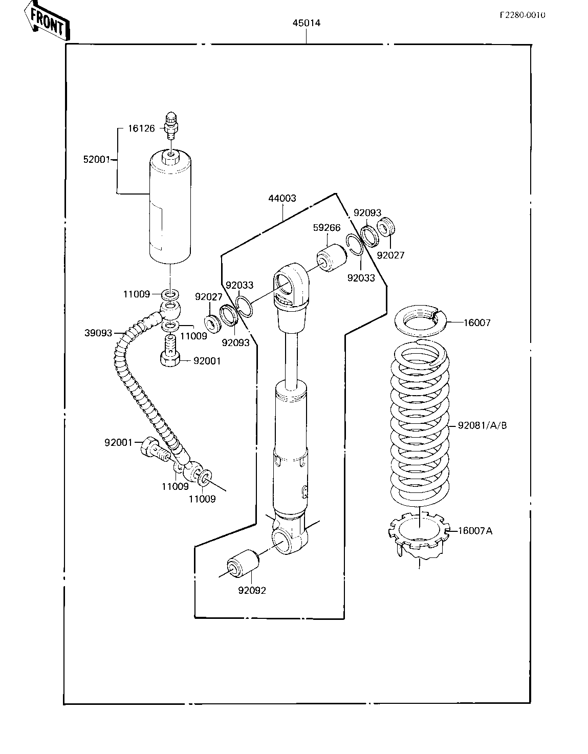
ITEM NAME REF # PART NUMBER QUANTITY DESTINATION REMARKS
GASKET,FORK CYLINDER 11009 44045-057 4
SEAT-SPRING,REAR SHOC 16007 16007-1056 1
SEAT-SPRING,REAR SHOC 16007A 16007-1057 1
VALVE,AIR 16126 16126-1056 1
PIPE-COMP-SUSP 39093 39093-1085 1
DAMPER-ASSY,SHOCKABSO 44003 44003-1427 1
SHOCKABSORBER 45014 45014-1208 1
TANK-OIL,REAR SHOCK 52001 52001-1019 1
JOINT-BALL 59266 59266-1014 1
BOLT,PIPE-COMP-SUSP 92001 92001-1752 2
COLLAR,REAR SHOCK 92027 92027-1558 2
RING-SNAP,REARSHOCK 92033 92033-1090 2
SPRING,SHOCKABSORBER, 92081 92081-1815 1
SPRING,SHOCKABSORBER, 92081A 92081-1534 1
SPRING,SHOCKABSORBER, 92081B 92081-1535 1
BUSHING-RUBBER,SHOCKA 92092 92092-1016 1
SEAL,REAR SHOCK 92093 92093-1087 2