Skip to main content

Parts Diagrams

customer service agent speaking with a customer

Welcome, Kawasaki owners. Access the information and tools you need to get the most out of your vehicle.

Welcome, Kawasaki owners. Access the information and tools you need to get the most out of your vehicle.

Part Item Information
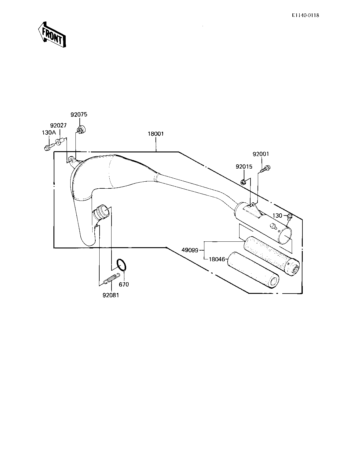
ITEM NAME REF # PART NUMBER QUANTITY DESTINATION REMARKS
MUFFLER 18001 18001-1556 1
WOOL,BAFFLE PIPE 18046 18046-1020 1
BAFFLE-PIPE MUFFLER,M 49099 49099-1113 1
BOLT,W/WASHER,6X12 92001 92001-1516 1
NUT-6MM 92015 92015-1078 1
COLLAR,MUFFLER 92027 92027-1527 1
DAMPER,RADIATOR 92075 92075-1352 1
SPRING-CONNECTOR 92081 18071-003 1
BOLT-FLANGED 130 130G0508 2
BOLT,FLANGED,6X25 130A 130G0625 1
"0" RING,36M/M 670 670E3036 1