main content of page
Parts Diagrams
OWNER CENTER |

Welcome, Kawasaki owners. Access the information and tools you need to get the most out of your vehicle.
OWNER CENTER |
Welcome, Kawasaki owners. Access the information and tools you need to get the most out of your vehicle.
Parts Diagrams |
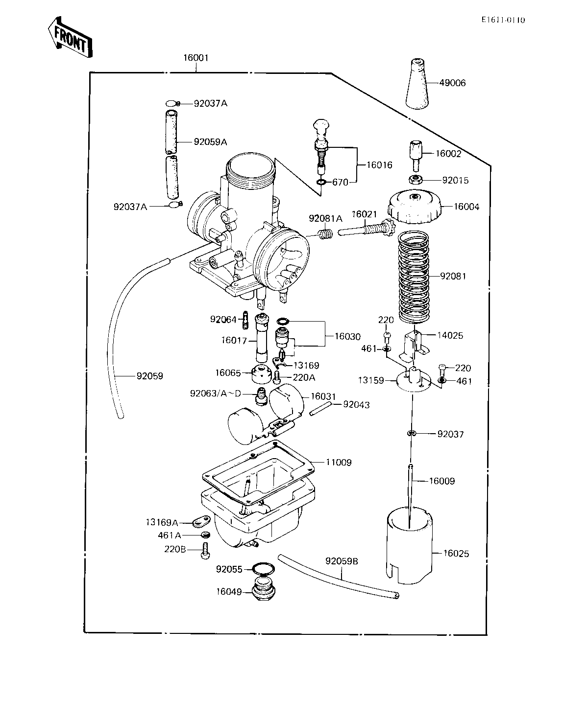
ITEM NAME | REF # | PART NUMBER | QUANTITY | DESTINATION | REMARKS |
---|---|---|---|---|---|
GASKET,FLOAT CHAMBER | 11009 | 11009-1178 | 1 | ||
CONNECTOR,THROTTLE | 13159 | 13159-1010 | 1 | ||
PLATE, LOCK | 13169 | 13169-1190 | 1 | ||
PLATE,TUBE CLAMP | 13169A | 13169-1226 | 1 | ||
COVER,THROTTLE VALVE | 14025 | 14025-1494 | 1 | ||
CARBURETOR | 16001 | 16001-1713 | 1 | ||
ADJUSTER,CABLE | 16002 | 16002-017 | 1 | ||
CAP,MIXING CHAMBER | 16004 | 16004-025 | 1 | ||
NEEDLE-JET,5EJ36 | 16009 | 16009-1149 | 1 | ||
PLUNGER ASSY,STARTER | 16016 | 16016-1013 | 1 | ||
JET-NEEDLE,P-O | 16017 | 16017-1134 | 1 | ||
SCREW-THROTTLE STOP | 16021 | 16021-1047 | 1 | ||
VALVE-THROTTLE,CA.30 | 16025 | 16025-1081 | 1 | ||
FLOAT VALVE ASSY,2.5 | 16030 | 16030-1013 | 1 | ||
FLOAT | 16031 | 16031-1011 | 1 | ||
COVER,MAIN JET | 16049 | 16049-1003 | 1 | ||
HOLDER,MAIN JET RING | 16065 | 16065-1033 | 1 | ||
CAP,CARBURETOR | 49006 | 16036-007 | 1 | ||
NUT-CABLE ADJUST LOCK | 92015 | 16003-006 | 1 | ||
CIRCLIP | 92037 | 16008-010 | 1 | ||
CLAMP-PIPE | 92037A | 92037-072 | 2 | ||
FLOAT PIN | 92043 | 16032-003 | 1 | ||
"0" RING | 92055 | 92055-1076 | 1 | ||
TUBE,3X5X300 | 92059 | 92059-1755 | 1 | ||
HOSE,FUEL TAP DIAPHRA | 92059A | 92059-1023 | 1 | ||
TUBE | 92059B | 92059-1135 | 1 | ||
MAIN JET NO 125R | 92063 | 92063-055 | 1 | ||
JET-MAIN NO 115R | 92063A | 92063-076 | 1 | ||
JET-MAIN NO 117.5R | 92063B | 92063-077 | 1 | ||
MAIN JET NO 120R | 92063C | 92063-078 | 1 | ||
JET-MAIN,#A122.5 | 92063D | 92063-1101 | 1 | ||
JET-PILOT NO 30 | 92064 | 92064-022 | 1 | ||
SPRING,THROTTLE VALV | 92081 | 16006-023 | 1 | ||
SPRING | 92081A | 92081-1417 | 1 | ||
SCREW PAN HEAD 3X8 | 220 | 220B0308 | 2 | ||
SCREW PAN HEAD 4X8 | 220A | 220B0408 | 1 | ||
SCREW PAN HEAD 4X16 | 220B | 220B0416 | 4 | ||
WASHER SPRING 3MM | 461 | 461F0300 | 2 | ||
WASHER SPRING 4MM | 461A | 461F0400 | 4 | ||
"O" RING,9MM | 670 | 670B1509 | 1 |
GASKET,FLOAT CHAMBER | |
REF # | 11009 |
---|---|
PART NUMBER | |
QUANTITY | 1 |
DESTINATION | |
REMARKS |
CONNECTOR,THROTTLE | |
REF # | 13159 |
---|---|
PART NUMBER | |
QUANTITY | 1 |
DESTINATION | |
REMARKS |
PLATE, LOCK | |
REF # | 13169 |
---|---|
PART NUMBER | |
QUANTITY | 1 |
DESTINATION | |
REMARKS |
PLATE,TUBE CLAMP | |
REF # | 13169A |
---|---|
PART NUMBER | |
QUANTITY | 1 |
DESTINATION | |
REMARKS |
COVER,THROTTLE VALVE | |
REF # | 14025 |
---|---|
PART NUMBER | |
QUANTITY | 1 |
DESTINATION | |
REMARKS |
CARBURETOR | |
REF # | 16001 |
---|---|
PART NUMBER | |
QUANTITY | 1 |
DESTINATION | |
REMARKS |
ADJUSTER,CABLE | |
REF # | 16002 |
---|---|
PART NUMBER | |
QUANTITY | 1 |
DESTINATION | |
REMARKS |
CAP,MIXING CHAMBER | |
REF # | 16004 |
---|---|
PART NUMBER | |
QUANTITY | 1 |
DESTINATION | |
REMARKS |
NEEDLE-JET,5EJ36 | |
REF # | 16009 |
---|---|
PART NUMBER | |
QUANTITY | 1 |
DESTINATION | |
REMARKS |
PLUNGER ASSY,STARTER | |
REF # | 16016 |
---|---|
PART NUMBER | |
QUANTITY | 1 |
DESTINATION | |
REMARKS |
JET-NEEDLE,P-O | |
REF # | 16017 |
---|---|
PART NUMBER | |
QUANTITY | 1 |
DESTINATION | |
REMARKS |
SCREW-THROTTLE STOP | |
REF # | 16021 |
---|---|
PART NUMBER | |
QUANTITY | 1 |
DESTINATION | |
REMARKS |
VALVE-THROTTLE,CA.30 | |
REF # | 16025 |
---|---|
PART NUMBER | |
QUANTITY | 1 |
DESTINATION | |
REMARKS |
FLOAT VALVE ASSY,2.5 | |
REF # | 16030 |
---|---|
PART NUMBER | |
QUANTITY | 1 |
DESTINATION | |
REMARKS |
FLOAT | |
REF # | 16031 |
---|---|
PART NUMBER | |
QUANTITY | 1 |
DESTINATION | |
REMARKS |
COVER,MAIN JET | |
REF # | 16049 |
---|---|
PART NUMBER | |
QUANTITY | 1 |
DESTINATION | |
REMARKS |
HOLDER,MAIN JET RING | |
REF # | 16065 |
---|---|
PART NUMBER | |
QUANTITY | 1 |
DESTINATION | |
REMARKS |
CAP,CARBURETOR | |
REF # | 49006 |
---|---|
PART NUMBER | |
QUANTITY | 1 |
DESTINATION | |
REMARKS |
NUT-CABLE ADJUST LOCK | |
REF # | 92015 |
---|---|
PART NUMBER | |
QUANTITY | 1 |
DESTINATION | |
REMARKS |
CIRCLIP | |
REF # | 92037 |
---|---|
PART NUMBER | |
QUANTITY | 1 |
DESTINATION | |
REMARKS |
CLAMP-PIPE | |
REF # | 92037A |
---|---|
PART NUMBER | |
QUANTITY | 2 |
DESTINATION | |
REMARKS |
FLOAT PIN | |
REF # | 92043 |
---|---|
PART NUMBER | |
QUANTITY | 1 |
DESTINATION | |
REMARKS |
"0" RING | |
REF # | 92055 |
---|---|
PART NUMBER | |
QUANTITY | 1 |
DESTINATION | |
REMARKS |
TUBE,3X5X300 | |
REF # | 92059 |
---|---|
PART NUMBER | |
QUANTITY | 1 |
DESTINATION | |
REMARKS |
HOSE,FUEL TAP DIAPHRA | |
REF # | 92059A |
---|---|
PART NUMBER | |
QUANTITY | 1 |
DESTINATION | |
REMARKS |
TUBE | |
REF # | 92059B |
---|---|
PART NUMBER | |
QUANTITY | 1 |
DESTINATION | |
REMARKS |
MAIN JET NO 125R | |
REF # | 92063 |
---|---|
PART NUMBER | |
QUANTITY | 1 |
DESTINATION | |
REMARKS |
JET-MAIN NO 115R | |
REF # | 92063A |
---|---|
PART NUMBER | |
QUANTITY | 1 |
DESTINATION | |
REMARKS |
JET-MAIN NO 117.5R | |
REF # | 92063B |
---|---|
PART NUMBER | |
QUANTITY | 1 |
DESTINATION | |
REMARKS |
MAIN JET NO 120R | |
REF # | 92063C |
---|---|
PART NUMBER | |
QUANTITY | 1 |
DESTINATION | |
REMARKS |
JET-MAIN,#A122.5 | |
REF # | 92063D |
---|---|
PART NUMBER | |
QUANTITY | 1 |
DESTINATION | |
REMARKS |
JET-PILOT NO 30 | |
REF # | 92064 |
---|---|
PART NUMBER | |
QUANTITY | 1 |
DESTINATION | |
REMARKS |
SPRING,THROTTLE VALV | |
REF # | 92081 |
---|---|
PART NUMBER | |
QUANTITY | 1 |
DESTINATION | |
REMARKS |
SPRING | |
REF # | 92081A |
---|---|
PART NUMBER | |
QUANTITY | 1 |
DESTINATION | |
REMARKS |
SCREW PAN HEAD 3X8 | |
REF # | 220 |
---|---|
PART NUMBER | |
QUANTITY | 2 |
DESTINATION | |
REMARKS |
SCREW PAN HEAD 4X8 | |
REF # | 220A |
---|---|
PART NUMBER | |
QUANTITY | 1 |
DESTINATION | |
REMARKS |
SCREW PAN HEAD 4X16 | |
REF # | 220B |
---|---|
PART NUMBER | |
QUANTITY | 4 |
DESTINATION | |
REMARKS |
WASHER SPRING 3MM | |
REF # | 461 |
---|---|
PART NUMBER | |
QUANTITY | 2 |
DESTINATION | |
REMARKS |
WASHER SPRING 4MM | |
REF # | 461A |
---|---|
PART NUMBER | |
QUANTITY | 4 |
DESTINATION | |
REMARKS |
"O" RING,9MM | |
REF # | 670 |
---|---|
PART NUMBER | |
QUANTITY | 1 |
DESTINATION | |
REMARKS |