Skip to main content

Parts Diagrams

customer service agent speaking with a customer

Welcome, Kawasaki owners. Access the information and tools you need to get the most out of your vehicle.

Welcome, Kawasaki owners. Access the information and tools you need to get the most out of your vehicle.

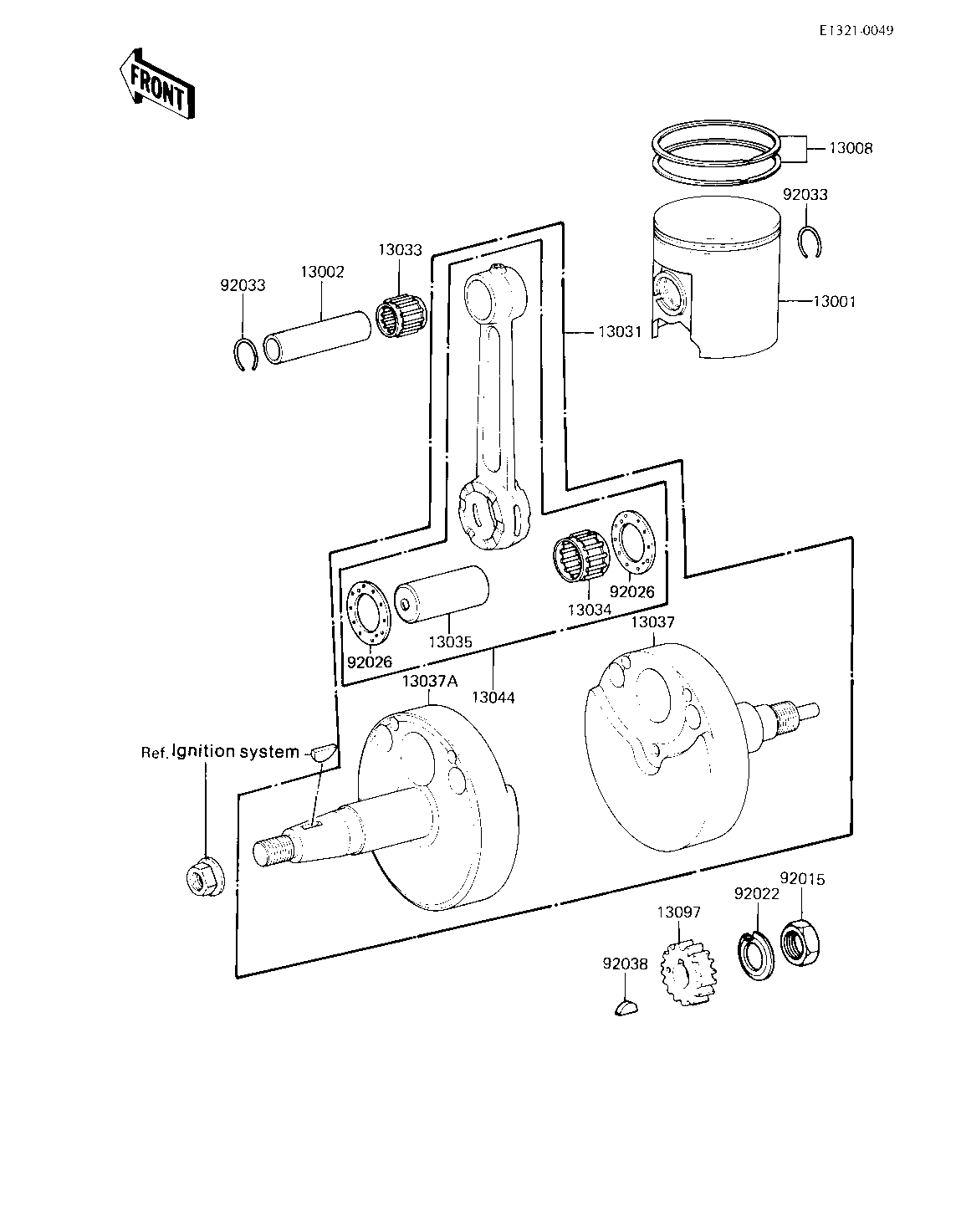
Part Item Information
ITEM NAME REF # PART NUMBER QUANTITY DESTINATION REMARKS
PISTON-ENGINE 13001 13001-1184 1
PIN-PISTON 13002 13002-1009 1
RING-SET-PISTON 13008 13008-5052 1
CRANKSHAFT-COMP 13031 13031-1093 1
BEARING-NEEDLE,14R181 13033 13033-1003 1
BEARING-BIG END 13034 13034-1032 1
PIN-CRANK 13035 13035-1075 1
CRANKSHAFT,RH 13037 13037-1159 1
CRANKSHAFT,LH 13037A 13037-1170 1
SET-CONNECTING ROD 13044 13044-5031 1
GEAR,PRIMARY,24T 13097 13097-1042 1
NUT 12MM 92015 92015-006 1
WASHER LOCK 12MM 92022 92024-003 1
WASHER SIDE 92026 92026-011 2
CIRCLIP PISTON PIN 92033 92036-003 2
WOODRUFF KEY PRY PINI 92038 92038-003 1