Skip to main content

Parts Diagrams

customer service agent speaking with a customer

Welcome, Kawasaki owners. Access the information and tools you need to get the most out of your vehicle.

Welcome, Kawasaki owners. Access the information and tools you need to get the most out of your vehicle.

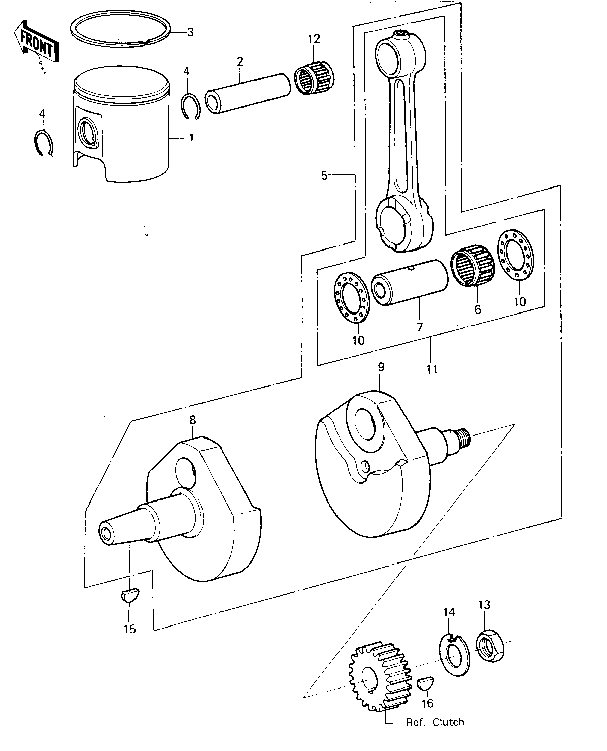
Part Item Information
ITEM NAME REF # PART NUMBER QUANTITY DESTINATION REMARKS
PISTON-ENGINE 1 13001-1052 1
PIN-PISTON 2 13002-1003 1
RING,PISTON,S.T.D 3 13003-1060 1
CIRCLIP PISTON PIN 4 92036-004 2
CRANKSHAFT ASSY 5 13031-1032 1
NEEDLE BEARING,BIG EN 6 13034-1002 1
PIN,CRANK 7 13035-1001 1
CRANKSHAFT,L.H 8 13037-1062 1
CRANKSHAFT,R.H 9 13037-1063 1
WASHER SIDE 10 92026-011 2
CONNECTING ROD ASSY 11 13044-5017 1
NEEDLE BEARING,SML EN 12 13033-1001 1
NUT 12MM 13 92015-006 1
WASHER,LOCK 14 92022-1063 1
WOODRUFF KEY 15 92038-001 1
WOODRUFF KEY PRY PINI 16 92038-003 1